欢迎光临塔能压缩系统流体动力系统服务
-->
返回列表
您当前的位置:首页>>新闻动态>>塔能新闻
技术开发部获得一项隔膜流体增压机专利
发表于:2024-10-06 分享至:
专 利 号:ZL 2023 2 0016000.5 专利申请日:2023年01月05日
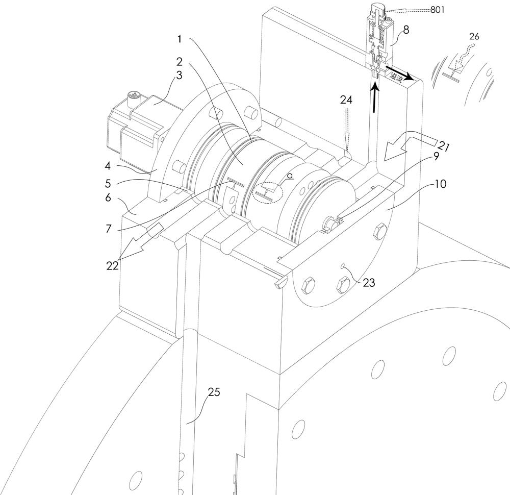
本发明提供一种隔膜式流体增压机,主要由旋转式换向阀和增压缸以及提供动力流体的单元组成。增压缸具有双工作腔,左右缸膜片被夹持在缸体和缸盖之间组成供左右膜片活动的腔体,通过换向阀电机带动换向阀芯旋转实现换向阀总进口和总出口交替导通左缸流道和右缸流道,腔体内膜片受两侧流体压差作用产生变形,膜片两侧的腔体容积周期性的改变,从而实现流体的增压。动力单元可由油泵,水泵,气泵等任何具有稳定动力流体输送功能的系统提供,动力单元和增压单元分离,可充分利用现有的动力单元进行增压,组成移动式增压系统。动力单元多元化,标准化,易形成模块化新产品。